QR код
Продукти
Свържете се с нас


факс
+86-574-87168065

Електронна поща

Адрес
Индустриална зона Luotuo, област Zhenhai, град Нингбо, Китай
Ако работите с тежки машини – като мелници за валцуване на стомана, които произвеждат метал през цялата смяна, кранове, повдигащи тонове материал, или минно оборудване, което се бори с прах и налягане под земята – имате нужда от съединител, който няма да ви подведе. Точно за това е създаден универсалният съединител SWC-BH Standard Flex Welding Type на Raydafon: надеждно предаване на въртящия момент, дори когато работата стане груба.
Първо, нека поговорим за неговия дизайн. Завареният хомут не е просто функция - той променя играта. За разлика от скобите с болтове, които могат да се разхлабят с времето, този е заварен здраво, така че няма риск частите да се разклатят, когато машината ви работи усилено. И също така пасва на набор от настройки, с диаметри на въртене от 180 mm до 620 mm - няма нужда да търсите универсален вариант. Като стандартен гъвкав универсален съединител, той се справя с до 15 градуса ъглово отклонение, което означава, че ако вашите валове не са идеално подредени (и нека бъдем реални, те рядко са), той все още продължава да се движи. Дори когато въртящият момент достигне 1250 kN·m — сериозна мощност — той остава стабилен, без заеквания, без падане.
Не пестихме и от материали. Това нещо е направено от стомана 35CrMo – високоякостна материя, която издържа на износване, дори когато се блъска в мина или се нагрява близо до валцова машина. Освен това поставяме прецизни иглени лагери, така че да се движи гладко, да намалява триенето и да издържа много по-дълго от по-евтините съединители. Ето защо това е предпочитание за универсални съединители за тежки машини - не работи само за няколко седмици; залепва наоколо, поддържайки вашето оборудване работещо. И ако имате нужда от заварени универсални съединители за индустриални приложения? Това е всичко—завареният дизайн се справя с вибрациите и напрежението по-добре от болтовите алтернативи, така че прекарвате по-малко време в фиксиране и повече време в работа.
В Raydafon ги произвеждаме в Китай, но не ограничаваме качеството. Всяка стъпка следва стандартите ISO 9001 – проверяваме стоманата, проверяваме заваръчните шевове, тестваме лагерите – така че да знаете, че получавате съединител, който отговаря на глобалните правила за качество. И ако вашата настройка е малко по-различна? Ние правим персонализирани настройки - коригиране на размера, настройка на спецификациите - каквото трябва, за да пасне. Най-добрата част? Не е на цена като луксозна част. Получавате издръжлив универсален съединител, който работи здраво, без да плащате цяло състояние. За всеки, който не може да си позволи престой, този съединител SWC-BH е вид надеждна част, която поддържа вашата машина в движение ден след ден.
| не | Диаметър на въртене D мм | Номинален въртящ момент Tn KN·m | Ъгъл на сгъване на осите β (°) | Уморен въртящ момент Tf KN·m | Размер (mm) | Въртяща се инерция кг.м2 | Тегло (кг) | |||||||||||
| Lmin | D1 (js11) | D2 (H7) | D3 | Lm | n-d | k | t | b (h9) | g | Lmin | Увеличете 100 мм | Lmin | Увеличете 100 мм | |||||
| SWC100WH | 100 | 1.25 | 0.63 | 25° | 243 | 84 | 57 | 60 | 55 | 6-9 | 7 | 2.5 | - | - | 0.0039 | 0.00019 | 4.5 | 0.35 |
| SWC120WH | 120 | 2.5 | 1.25 | 25° | 307 | 102 | 75 | 70 | 65 | 8-11 | 8 | 2.5 | - | - | 0.0096 | 0.00044 | 7.7 | 0.55 |
| SWC150WH | 150 | 5 | 25 | 25° | 350 | 130 | 90 | 89 | 80 | 8-13 | 10 | 3 | - | - | 0.371 | 0.00157 | 18 | 24.5 |
| SWC180WH | 180 | 12.5 | 6.3 | 25° | 180 | 155 | 105 | 114 | 110 | 8-17 | 17 | 5 | - | - | 0.15 | 0.007 | 48 | 2.8 |
| SWC225WH | 225 | 40 | 20 | 15° | 520 | 196 | 135 | 152 | 120 | 8-17 | 20 | 5 | 32 | 9 | 0.365 | 0.0234 | 78 | 4.9 |
| SWC250WH | 250 | 63 | 31.5 | 15° | 620 | 218 | 150 | 168 | 140 | 8-19 | 25 | 6 | 40 | 12.5 | 0.817 | 0.0277 | 124 | 5.3 |
| SWC285WH | 285 | 90 | 45 | 15° | 720 | 245 | 170 | 194 | 160 | 8-21 | 27 | 7 | 40 | 15 | 1.756 | 0.051 | 185 | 6.3 |
| SWC315WH | 315 | 125 | 63 | 15° | 805 | 280 | 185 | 219 | 219 | 10-23 | 32 | 8 | 40 | 15 | 2.893 | 0.0795 | 262 | 8 |
| SWC350WH | 350 | 180 | 90 | 15° | 875 | 310 | 210 | 267 | 194 | 10-23 | 35 | 8 | 50 | 16 | 5.013 | 0.2219 | 374 | 15 |
| SWC390WH | 390 | 250 | 125 | 15° | 955 | 345 | 235 | 267 | 215 | 10-25 | 40 | 8 | 70 | 18 | 8.406 | 0.2219 | 506 | 15 |
| SWC440WH | 440 | 355 | 180 | 15° | 1155 | 390 | 255 | 325 | 260 | 16-28 | 42 | 10 | 80 | 20 | 15.79 | 0.4744 | 790 | 21.7 |
| SWC490WH | 490 | 500 | 250 | 15° | 1205 | 435 | 275 | 325 | 270 | 16-31 | 47 | 12 | 90 | 22.5 | 26.54 | 0.4744 | 1014 | 21.7 |
| SWC550WH | 550 | 710 | 355 | 15° | 1355 | 492 | 320 | 426 | 325 | 16-31 | 50 | 12 | 100 | 22.5 | 48.32 | 1.357 | 1526 | 34 |
Ако ви е омръзнало да се справяте със суетни съединители, които забавят работата ви или се повреждат, когато имате най-голяма нужда от тях, универсалният съединител SWC-WH без гъвкаво заваряване на Raydafon променя играта. Той е пълен с предимства, които го правят най-добрият избор за всеки, който се нуждае от плавно предаване на въртящия момент в механични системи - без объркващи стъпки на заваряване, само солидна производителност, която се вписва точно в работния ви процес.
Първо, инсталирането на това нещо е много по-лесно, отколкото си мислите. За разлика от заварените съединители, които ви принуждават да носите допълнителни инструменти или да чакате заварките да се стегнат, SWC-WH използва дизайн с болтове. Можете бързо да го поставите в съществуващата си настройка и кога е време за поддръжка? Разглобяването му е лесно, така че вашето индустриално оборудване прекарва по-малко време без работа. Ето защо това е страхотен универсален универсален шарнирен съединител с висок въртящ момент - без главоболия при престой, просто влезте, поправете това, от което се нуждаете, и се върнете на работа.
От гледна точка на издръжливост, той е създаден да го издържи. Ние използваме тежки материали, които се справят с големи натоварвания и постоянни вибрации, без да трепнат - идеални за натоварени промишлени места, където оборудването никога не прекъсва. И тъй като няма заваряване, не е нужно да се тревожите за онези слаби места, които изскачат, когато заваръчните шевове се износват с течение на времето. Това не е съединител, който трябва да се сменя на всеки няколко месеца; това е надежден универсален шарнирен съединител за промишлени машини, който се задържа, поддържайки вашите операции стабилни.
Несъответствия? няма проблеми Валовете никога не остават идеално подредени, особено в автомобилни или транспортни системи, но SWC-WH се справя с ъглови, аксиални и радиални отклонения като професионалист. Това е вид съединител на универсалния шарнир на задвижващия вал, който поддържа мощността да се движи плавно дори когато подравняването стане нестабилно - без резки удари, без падане, просто постоянна производителност.
И да поговорим за разходите. Заваряването добавя допълнителни такси за труд и материали, но това свързване пропуска всичко това. Получавате качествен продукт без преразход, което е голяма победа за всеки бюджет. Дори в трудни места като морски инсталации, където корозията е постоянна заплаха, той се задържа като надежден морски универсален съединител - устойчив на солена вода, лесен за портфейла ви.
Ако се интересувате от възобновяема енергия, този съединител също се вписва точно. Това е солиден универсален шарнирен съединител за оборудване за възобновяема енергия, който премества мощността ефективно, с почти никакви отпадъци. Плюс това, той е лек, така че не натоварва вашата система – чудесен за поддържане на устойчивото функциониране на нещата, без да се жертва производителността.
В Raydafon ние не просто продаваме съединители – ние правим такива, които отговарят на вашите нужди. SWC-WH може да се персонализира, така че работи точно както искате. Ако сте любопитни как може да направи операциите ви по-гладки, просто се свържете с нашия екип. Ще ви преведем през това, без жаргон – просто говорете направо какво може да направи това свързване за вас.
Универсалният съединител SWC-WH без гъвкаво заваряване на Raydafon използва основното ноу-хау за механиката на карданното съединение, но ние го променихме, за да работи по-силно за индустриални работни места. Целият смисъл? Накарайте въртящия момент да се движи плавно между два вала, които не са идеално подредени, дори когато са под ъгъл. Като специално разработен съединител за универсален шарнир на карданния вал SWC, той използва кръстообразно парче в средата, за да поддържа постоянен поток на въртящата се мощност – точно защо това е такъв съединител за универсален шарнир с висок въртящ момент за тежка работа като валцовани мелници или повдигащи машини.
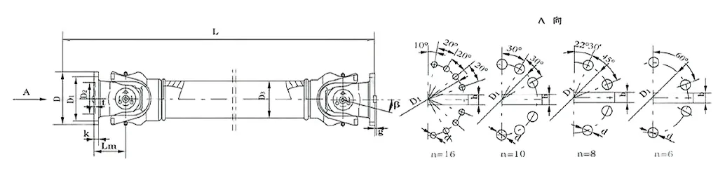
Нека разбием същината на това как работи: има два раздвоени ярема и те са свързани с централен кръст (наричаме го паяк). Тази настройка позволява на вилките да се въртят в различни посоки - така че дори ако валовете са изместени с до 25° (това е максималния ъгъл на сгъване на оста), въртящият момент все още се предава равномерно. Той също има спецификации в подкрепа на това: диаметрите на въртене варират от φ58 до φ620 и се справят с номинален въртящ момент от 0,15 до 1000 kN·m. Когато го използвате като тежкотоварен универсален шарнирен съединител за операции на валцова мелница, този дизайн означава, че входното въртене се превръща в изходящо движение без проблем – тези шарнирни шарнири се въртят сами, за да компенсират несъответствията, без прекъсвания.
Какво прави частта „без гъвкаво заваряване“ важна? Заменихме заварки с болтови или захванати връзки. Заваръчните шевове могат да се окажат слаби места с течение на времето, но тези крепежни елементи намаляват рисковете от повреда — и също така правят сглобяването на съединителя много по-лесно. Този промишлен универсален съединител също има подобрен дизайн на главата на вилицата, който спира болтовете от разхлабване, повишавайки неговата структурна здравина с 30%-50%. Това е голяма работа за взискателни места като мини или строителни площадки, където той действа като издръжлив съединител на карданния вал SWC - издържащ при големи натоварвания, без да се разпада.
Ефективността е друга победа тук: тя достига до 98,6% ефективност на предаване. Създадохме всяка част, за да намалим триенето и загубата на енергия - така че не е изненада, че това е ефективен универсален шарнирен съединител за голямо предаване на мощност в промишлени инсталации с висока мощност. И работи тихо: обикновено 30-40 dB(A). Това е благодарение на балансираното въртене и вграденото амортизиране на вибрациите, което го прави съединител с универсален шарнир с ниско ниво на шум за места, където шумът е проблем. Плюс това, той поддържа разходите за енергия ниски, така че поставя отметка и за нуждите от енергоспестяващ универсален съединител.
В системите за свързване на универсални шарнири за тежки машини това има най-голямо значение: SWC-WH разпределя силите равномерно във всички свои части. Никоя отделна част не поема прекалено голямо натоварване, което означава по-малко повреди и по-дълъг живот. В Raydafon ние не просто изграждаме този съединител, за да отговаря на спецификациите – ние го приспособяваме да работи за вашата работа, независимо дали става дума за здрави тежки машини или специализирани индустриални настройки. Ако искате да го настроите, за да работи вашата система по-гладко или да издържи по-дълго, просто говорете с нашия екип - ние ще ви помогнем да получите настройка, която отговаря точно на това, от което се нуждаете.
⭐⭐⭐⭐⭐ Джан Уей, машинен инженер, Beijing Industrial Machinery Co., Ltd.
Ние разполагаме с универсалния куплунг SWC-WH на Raydafon без гъвкаво заваряване на нашето производствено оборудване от няколко месеца и той се представя стабилно – особено когато настояваме нашите машини да се справят с високи натоварвания. Това, което наистина ценя, е неговата здрава конструкция: дори при тези дълги, взискателни смени, при които други части може да започнат да се клатят, това свързване поддържа нещата да работят гладко – без произволни вибрации, без внезапни повреди, които изхвърлят цялата ни линия.
Инсталацията също беше лека. Екипът ни не трябваше да прекарва часове в измисляне на сложни стъпки; монтирахме го бързо и оттогава не се е налагало да го настройваме. За тежкотоварни съоръжения като нашите, надеждността и качеството не подлежат на обсъждане и този съединител проверява и двете кутии. Raydafon доказа, че е партньор, на който можем да разчитаме тук – ние сме искрено доволни от това как този продукт се държи.
⭐⭐⭐⭐⭐ Джон Смит, управител на завода, производство във Флорида, САЩ
Пуснах съединителя SWC-WH на Raydafon в нашето съоръжение във Флорида преди няколко месеца и беше точно това, от което се нуждаехме – просто, без проблеми и постоянно ефективно. Предаването на мощността остава стабилно, което е от ключово значение за поддържане на темпото на производството ни и не се е налагало нито веднъж да го докосваме за поддръжка. Това е голяма победа за нас; по-малкото време за фиксиране на части означава повече време за свършване на работата.
Дори когато работим с машините силно, под голямо напрежение, този съединител не трепва - той просто продължава. Инсталирането също беше лесно; нашите техници го настроиха за нула време. И когато съчетаете това представяне с разумна цена? Това е солидна стойност. Освен това поддръжката на клиенти на Raydafon беше първокласна, когато имахме бърз въпрос – те се свързаха с нас бързо. Без съмнение ще продължим да използваме техните продукти надолу.
⭐⭐⭐⭐⭐ Роберто Силва, оперативен директор, Сао Пауло инженерни решения, Бразилия
Партнираме си с Raydafon от известно време, но техният куплунг SWC-WH Without Flex наистина се открои в нашите операции – доказал е своята стойност отново и отново. Първото нещо, което забелязвате, е здравата му конструкция; усеща се, че е създаден да издържи и това означава надеждна работа на нашите машини.
Преди да преминем към този съединител, се сблъскахме с чести престои поради проблеми с несъосност и преждевременно износване на нашите стари части. сега? Тези проблеми ги няма. Това значително намали времето ни за престой, което беше огромен тласък за производителността. А монтаж? Супер лесно – екипът ни не губи време за отстраняване на неизправности при настройката. За всяка компания, която се нуждае от части за предаване на мощност, на които може да се довери, това е безпроблемно. Абсолютно го препоръчвам.
⭐⭐⭐⭐⭐ Петер Мюлер, технически ръководител, Stuttgart Manufacturing GmbH, Германия
Използваме съединителя SWC-WH на Raydafon в нашето производствено съоръжение в Щутгарт повече от шест месеца и той е безупречен - сериозно, нито един проблем през цялото време. Дизайнът му е лесен, което прави монтажа лесен; нашият екип го монтира и готов за работа за нула време, без нужда от сложни стъпки или специални инструменти.
Това, което наистина ме впечатлява обаче, е качеството. Заваряването е чисто и здраво, а материалите се усещат висококачествени - можете да кажете, че не са изрязали ъглите. Поддържа се перфектно при редовна употреба, като не показва никакви признаци на износване дори след месеци непрекъсната работа. Ние сме повече от доволни от представянето на този продукт и той вече е в нашия списък за използване за бъдещи проекти.
Адрес
Индустриална зона Luotuo, област Zhenhai, град Нингбо, Китай
Тел
Електронна поща


+86-574-87168065


Индустриална зона Luotuo, област Zhenhai, град Нингбо, Китай
Copyright © Raydafon Technology Group Co., Limited Всички права запазени.
Links | Sitemap | RSS | XML | Политика за поверителност |
